咨询热线:
400-600-7758
热门搜索:
防尘口罩
防护眼镜
耳塞
防护手套
安全鞋
空气呼吸器
防化服
气体检测仪
全部商品分类
首页
了解畅为
畅为介绍
畅为优势
资质证书
代理证书
荣誉证书
团队拓展
社会责任
法律声明
解决方案
品牌专区
诚邀合作
PPE服务外包
诚邀经销商
诚邀供应商
联系我们
当前位置:
上海畅为
>
专业术语
>
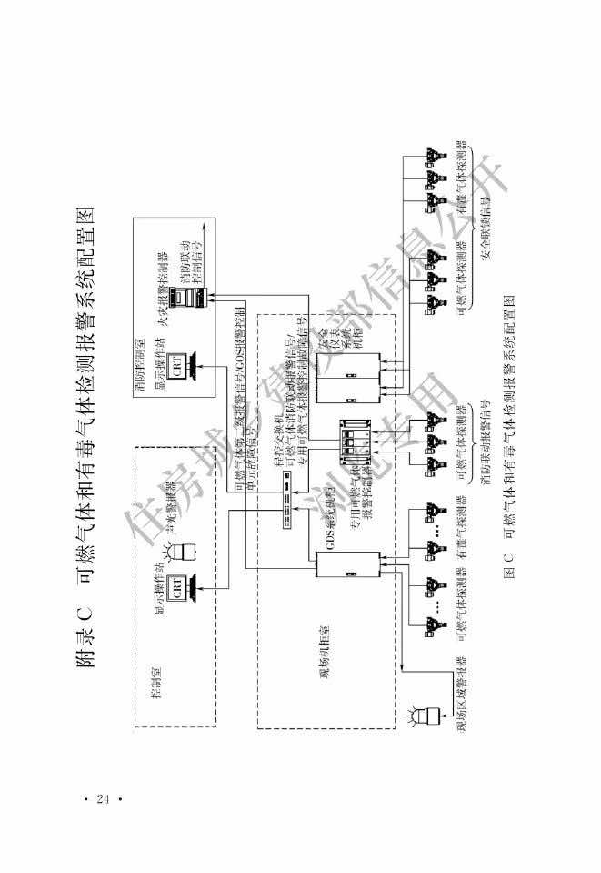
新版2019《石油化工可燃气体和有毒气体检测报警设计标准》
文章分类
个人防护知识
呼吸防护
眼部防护
耳部防护
躯体防护
手部防护
头部防护
高空作业防护
脚部防护
基本常识
其它知识
常见问题解答
视频教程
培训视频
专业术语
新版2019《石油化工可燃气体和有毒气体检测报警设计标准》
作者:
发表时间:2019-11-07
分享到:
上一篇:
2019广东特种劳动防护用品产品质量监督抽查实施细则